Изготовление собственной книги вместе с ребенком – один из увлекательных путей в книжный мир.
Ведь то, к рождению чего прикоснулся, становится понятным и любимым. С базовыми моделями самодельных книжек вас познакомит художник Светлана Прудовская.
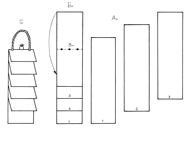
Книга-«лесенка»
Эту модель книги можно использовать для текстов, связанных со счетом. Например, записывать в нее считалки. А можно таким образом сделать книжку для записи роста и веса под названием «Я расту».
История
Конструкцию «лесенка» впервые использовал американский художник и писатель Эрик Карл в своей знаменитой книге «Очень голодная гусеница».
Каждая следующая страничка такой книги немного шире (или длиннее) предыдущей.
Технология изготовления
1. Сложите три листа бумаги таким образом, чтобы каждый лист выходил за пределы другого на 1/7 часть.
Мы получили первые три ступени нашей лесенки.
2. Сложите теперь листки, придерживая их вместе, таким образом, чтобы получилось шесть ступенек.
3. Проделайте шилом три дырочки в сгибе и сшейте книжку нитками.
4. К такой книжке удобно приделать веревочку и повесить на стену. Пропустите через дырочки красивый шнурок и закрепите его узлом, или бусиной, или пуговицей.

Книга-кодекс
Привычная для нас форма книги, которую нужно перелистывать, и есть форма «кодекса». Такая книга удобна для любых видов сочинений; ее можно соединять и с другими типами книг.

История
В древнем Риме слово codex означало ствол дерева, чурбан, а также деревянные дощечки. Дощечки покрывали воском и писали на них острой палочкой. Другая сторона палочки была круглой, и ею можно было исправлять ошибки, заглаживая воск. Дощечки скрепляли по несколько штук в виде книги (две скрепленные вместе дощечки назывались «диптих», три – «триптих», больше – «пoлиптих»); отсюда и название «кодекс». В таких деревянных книгах писали и греки, и римляне, и европейцы в Средние века. Археологи нашли такую книгу и в Новгороде Великом. Там же был найден и берестяной кодекс.
В древнем Риме книжечки в виде кодексов – деревянных, папирусных или пергаменных – часто использовали как личные записные книжки, которые носили с собой.
Распространение книг в виде кодекса часто связывают с возникновением христианства: именно в начале христианской эпохи древняя форма свитка была вытеснена более компактной (страницы плотно прилегают друг к другу), более удобной в пользовании, более экономичной (можно писать на обеих сторонах листа) формой кодекса. Кодексы были и более прочными. Лучшие и самые долговечные кодексы изготовлялись из пергамена (со II века н. э.) и сшивались в деревянные переплеты, обтянутые кожей. Ко времени изобретения книгопечатания в Европе кодекс стал основной книжной формой.
Древние книги, написанные от руки, называются «манускриптами» («ману» – рука, «скрипто» – пишу). Чтобы стать мастером-переписчиком, нужно было учиться этому ремеслу семь лет.
Те книги, которые вы делаете с детьми, уникальны и неповторимы. Даже если вы захотите сделать книгу еще раз, она обязательно будет отличаться от предыдущей.
Технология изготовления
Самый простой кодекс можно сделать так:
1. Сложите два листа А4 вдвое и разрежьте или аккуратно разорвите по линии сгиба. Сложите каждую половину еще раз вдвое.
2. Вставьте листы друг в друга. Мы получили «тетрадь» – сложенные вместе двойные листы. В нашем кодексе будет одна тетрадь, состоящая из восьми страниц.
3. Возьмите лист плотной цветной бумаги или тонкий картон и вырежьте прямоугольник, немного больший, чем разложенная тетрадь. Согните картон пополам и вставьте в него тетрадь. Получилась тетрадь в обложке.
4. Чтобы страницы не разъезжались, зажмите их четырьмя скрепками-клипсами. Проделайте шилом в сгибе три дырочки и сшейте нитками тетрадь вместе с обложкой.
По этой теме можно почитать «Делаем книги с детьми. Базовые модели: книга-гармошка и книга-«лепорелло»